Wade-Dahl-Till shunt
.png)
De Wade-Dahl-Till (WDT) shunt is een celebrale shunt. Het medisch apparaat werd in 1962 ontwikkeld door hydraulisch ingenieur Stanley Wade, auteur Roald Dahl en neurochirurg Kenneth Till.
De uitvinding was geïnspireerd door Roald Dahls zoon, Theo, die hydrocefalie (een aandoening waarbij overtollig hersenvocht zich ophoopt in de hersenen) ontwikkelde nadat hij in 1960 door een taxi was aangereden.[1]
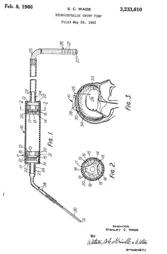
De WDT-shunt was ontworpen om de frequente verstoppingen die optraden bij de bestaande Holter-shunt aan te pakken, wat Theo veel pijn bezorgde en spoedoperaties vereiste. De nieuwe shunt gebruikte twee metalen schijven in een restrictieve behuizing aan het einde van een korte siliconen rubberen buis. Dit ontwerp maakte het mogelijk dat vloeistof onder druk van onderaf de schijven tegen de buis drukte om retrograde stroom te voorkomen, terwijl druk van bovenaf de schijven in de "open" positie bracht.
De WDT-shunt kenmerkte zich door zijn lage weerstand, gemakkelijke sterilisatie, robuuste constructie en verwaarloosbaar risico op verstopping.
Tegen de tijd dat het apparaat geperfectioneerd was, was Theo Dahl genezen tot het punt waarop het niet langer nodig was om de shunt in zijn schedel te implanteren. Niettemin profiteerden duizenden andere kinderen met hydrocefalie van deze uitvinding voordat de medische technologie verder vooruitging. De uitvinders kwamen overeen om nooit enige winst te accepteren van de uitvinding.
Dit artikel of een eerdere versie ervan is een (gedeeltelijke) vertaling van het artikel Wade-Dahl-Till valve op de Engelstalige Wikipedia, dat onder de licentie Creative Commons Naamsvermelding/Gelijk delen valt. Zie de bewerkingsgeschiedenis aldaar.
- ↑ (en) Solomon, Tom, "How family tragedy turned Roald Dahl into a medical pioneer", The Guardian, 12 september 2016. Geraadpleegd op 18 februari 2025.