Vleugel (insect)

De vleugels van insecten zijn in bouw en werking wezenlijk anders dan die van andere vliegende dieren. In de evolutie waren insecten de eerste dieren die konden vliegen, lang nog voor de pterosauriërs en andere vliegende gewervelde dieren zoals vogels en vleermuizen. De insecten zijn de enige klasse uit de stam van geleedpotigen die gevleugeld zijn.
Insecten hebben geen botten. De vleugels zijn verstevigd met aders, die ontstaan na de laatste vervelling, waarbij ze worden volgepompt met bloed, en ze als een soort raamwerk uitharden. Tijdens het uitharden komen ook de eventuele kleuren tevoorschijn, die in het onvolwassen stadium niet zichtbaar zijn, en net na de laatste vervelling zijn ze nog slap en wit. Insecten krijgen vleugels als ze het laatste nimfstadium verlaten of als ze uit de pop kruipen. Dan zijn de insecten volwassen. De larven of nimfen van insecten hebben nooit uitgegroeide vleugels.
Het is nog onduidelijk hoe de vleugels zich precies hebben ontwikkeld, omdat er nog geen fossiele tussenvormen van vleugels zijn gevonden. Bij insecten zijn de vleugels uitsteeksels van het tweede en derde segment van de thorax, respectievelijk de meso- en metathorax. Er zijn ook insectenfossielen bekend waarbij ook aan het eerste thoraxsegment nog vleugels voorkwamen.
De vliegvleugels kunnen als een afdakje boven het lichaam gevouwen worden zoals vliegen en juffers, zijn altijd gespreid zoals bij de echte libellen, of liggen onder verharde voorvleugels aan de bovenzijde van het achterlijf.
Bij sommige insecten als wantsen en kevers zijn de voorvleugels (aan de bovenzijde) verhard en beschermen de vliezige achtervleugels waarmee gevlogen wordt. Sommige insecten echter, zoals enkele loopkevers, bezitten wel vleugels maar hebben een dergelijke landgebonden levenswijze dat ze het vermogen om te vliegen volledig hebben verloren.
Structuur

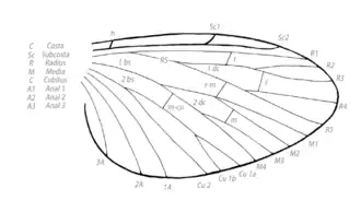
De vleugels waarmee insecten vliegen bestaan uit een aantal harde stevige vleugeladers (die eruitzien als ribbels), waartussen vliezige delen zijn gespannen: de vleugelcellen. De vleugelcellen en vleugeladering vormen meestal een belangrijk determinatiekenmerken.
Bij vlinders bevinden zich op de vleugelcellen vele kleine gekleurde schubben. Sommige insecten als de witte vlieg hebben vleugels die bedekt zijn met een witte, poederige was. Een vlies is opgedeeld in cellen die door aders omsloten worden. De aders en cellen worden volgens een gestandaardiseerde methode aangeduid.
Vleugelslag

De huisvlieg hoeft de borstspieren maar een klein beetje te bewegen om de vleugels op en neer te laten gaan. Dit komt doordat een tussenpositie niet mogelijk is en de vleugels of omhoog of omlaag staan. De vleugels schieten door de elasticiteit van het borststuk bij een kleine spierbeweging vanzelf door naar een van de twee posities. Door dit 'klikmechanisme' kunnen de vleugels tot 600 maal sneller bewegen.
Naarmate de vleugel kleiner is, moet deze sneller worden bewogen om het insect te laten vliegen. Een mug kan tot 1000 keer per seconde de vleugels op en neer bewegen. Hierdoor is de vleugelslag bij muggen te horen als een zoemgeluid. De fruitvlieg beweegt de vleugels 200 keer per seconde op en neer.
| Insecten | Grote libellen | Muggen | Huisvlieg | Honingbij | Woestijnsprinkhaan |
|---|---|---|---|---|---|
| vleugelsnelheid in aantal slagen per seconde |
22 tot 28 | 275 tot 575 (1000) |
190 tot 330 | 190 tot 250 | 18 tot 24 |
| vliegsnelheid in km per uur | 25,2 | 3,2 | 6,4 | 22,4 | 16,0 |
Aerodynamica
.jpg)
Vroeger begreep men niet hoe bijvoorbeeld een hommel vliegen kon, het is een relatief zwaar insect met vrij kleine vleugels. Het zou de wetten der aerodynamica tarten, maar tegenwoordig begint men er meer van te begrijpen. Insecten hebben namelijk allemaal vliezige vleugels om te vliegen, die beweegbaar zijn. Hierdoor kunnen ze van vorm veranderen tijdens de vlucht, wat kleine luchtwervelingen veroorzaakt die geen toeval zijn, maar waarvan gebruik wordt gemaakt om efficiënter te kunnen vliegen.
In zweefvlucht kan de vleugelstand ten opzichte van de luchtstroom, de invalshoek, tot 50° omhoog bedragen voordat het insect overtrokken raakt en uit de lucht valt.[1] De meeste insecten zijn echter te klein voor zweefvliegen en moeten hun vleugels constant en snel bewegen. Een uitzondering zijn grotere vlinders.
Een insect gebruikt voor het vliegen een combinatie van aerodynamische effecten. Door de vleugels te bewegen ontstaan er luchtwervelingen en kleine draaikolkjes (vortex), waar insecten bij het vliegen gebruik van maken. Andere dieren als vogels en vleermuizen kunnen door de relatief stijve vleugels geen gebruik maken van wervelingen. Bij de opgaande beweging worden de toppen van de beide vleugels naar elkaar toegebracht en bij de neergaande beweging gaan ze weer uit elkaar, waardoor er lift optreedt. Daarnaast kan de voor- en achterrand van de insectenvleugel meer of minder opgetild worden, waardoor er een gebogen vleugeloppervlak ontstaat met nog meer of minder lift en het insect omhoog of omlaag gaat. Dit laatste gebeurt door spieren die vergelijkbaar zijn met schouderspieren. Niet alleen bij de neergaande, maar ook bij de opgaande slag treedt lift op. De vlieg Echinomia grossa kan de voor- en achterkant van de vleugels tot bijna 180° draaien, waardoor deze ondersteboven of zijwaarts kan opvliegen.
Soorten vleugels

De vleugels van insecten kunnen behoorlijk verschillen in vorm, kleur en bouw. De meeste insecten worden zelfs ingedeeld aan de hand van de kenmerken van de vleugels, zoals de netvleugeligen (Neuroptera, o.a. gaasvliegen), de grootvleugeligen (Megaloptera, o.a. elzenvliegen) en de tweevleugeligen (Diptera, vliegen en muggen). Maar ook de naam van andere groepen refereert vaak aan de vleugelkenmerken, zoals de wantsen (Heteroptera, ongelijkvleugeligen), de vliesvleugeligen of Hymenoptera en de kevers (Coleoptera of verhardvleugeligen).
Insecten hebben in beginsel vier vleugels, maar deze zijn bij sommige groepen gereduceerd of niet altijd even goed waarneembaar. Bij de vliegen (Diptera) worden de tot halters gereduceerde achtervleugels als een gyroscoop gebruikt, waardoor de vlucht wordt gestabiliseerd. Bij de waaiervleugeligen (Strepsiptera) is het net andersom; het voorste vleugelpaar is rudimentair geworden en bestaat uit kleine kolfjes. Bij andere groepen, zoals de vlinders zijn de vier relatief grote vleugels vaak goed zichtbaar.
Onderstaand zijn de vleugelkenmerken van enkele bekendere insectenorden (zoals kevers, wantsen, vlinders) besproken. De minder bekende groepen als de Grylloblattodea zijn weggelaten.
Libellen
De echte libellen (niet de juffers) kunnen boven het water stilhangen en zelfs achteruit vliegen door hun vleugels op een bepaalde manier te bewegen. Hoe dit mogelijk is, is tot op heden nog niet opgehelderd. De libellen zijn, voor zover bekend. Libellen vormen de oudste groep insecten en hebben zich ook lang kunnen ontwikkelen.
Vlinders
Bij vlinders bevinden zich op de vliezen vele kleine gekleurde schubben. Hierdoor ontstaan er gekleurde tekeningen op de vleugels, die soms ook nog door de lichtinval beïnvloed worden. De grootste vleugel is 15 cm groot en is van de atlasvlinder, die in zuidoostelijk Azië leeft. In Nederland heeft de koninginnenpage van de vlinders de grootste vleugel van ongeveer 4 centimeter.
Vliegen en muggen

Bij de grote orde van de Diptera is het achterste paar vleugels vrijwel verdwenen: de achtervleugels zijn veranderd in kleine knotsvormig orgaantjes, de halters, die waarschijnlijk als sensoren dienen voor luchtstromingen en trillingen.
De zweefvliegen zijn een bijzondere familie van vliegen, omdat ze net als een libel stil kunnen hangen, de vleugels slaan in werkelijkheid met een hoge snelheid. Ook zijn ze watervlug, bijna alle soorten leven van het calorierijke nectar, net als kolibries. Ook hebben alle zweefvliegen een kenmerkende extra ader die doodloopt vlak voor de rand, deze wordt wel vena spuria genoemd.
Kevers
Bij de kevers bestaat het voorste vleugelpaar uit twee stevige dekschilden (elytra). Sommige soorten kunnen niet vliegen en er zijn enkele soorten die met gesloten dekschilden vliegen door de dekschilden alleen kort op te tillen en de vliegvleugels eronder vandaan trekken, wat de efficiëntie verhoogt. De meeste kevers tillen de dekschilden op, net als wantsen, waardoor ze een brommend geluid maken als ze vliegen, vooral grotere soorten als de meikever en het vliegend hert.
Wantsen
Wantsen hebben voorvleugels (hemelytra) die taaier en dikker zijn dan de achtervleugels, behalve aan de achterzijde van de voorvleugels waar ze wel dun en vliezig zijn. De voorvleugels worden over elkaar gevouwen en wantsen hebben dan ook, anders dan kevers, nooit een naad in de middellijn tussen de voorvleugels. De taaiere voorvleugels worden opgelicht als een wants vliegt, waardoor de vlucht bij veel soorten net als kevers gepaard gaat met een zacht gebrom.
Vliesvleugeligen
De vliesvleugeligen (bijen, hommels, wespen en mieren) hebben vier vleugels. De bijen hebben voor- en achtervleugels die aan elkaar gehaakt zijn door middel van een rij tandjes zodat de vleugels samen moeten worden bewogen. Hierdoor lijkt het net of ze maar één paar vleugels hebben.
Bij de mieren echter hebben alleen de koningin en de mannetjes vleugels, deze laatste leven maar zeer kort (voor de bruidsvlucht). Mieren zijn net als wespen sociale insecten en kunnen beschouwd worden als wespen die ondergronds zijn gaan leven. Mieren hebben hierdoor, althans de werksters, geen vleugels nodig. Om zich te verspreiden, te verstoppen in de winter en om nestparasieten te voorkomen, hebben alleen de exemplaren die zich voort kunnen planten vleugels.
- ↑ Bij vliegtuigen is de invalshoek maximaal 20°.