Tweede-ordesysteem

Een tweede-ordesysteem is een dynamisch systeem dat gemodelleerd kan worden als twee integrators met een aantal negatieve terugkoppelingen.
De toestand van een tweede-ordesysteem kan worden vastgelegd met twee getallen. Bij een mechanisch systeem zijn dit de plaats en de snelheid.
Een bekend voorbeeld van een tweede-ordesysteem is een harmonische oscillator (inclusief de gevallen van overdemping en kritische demping), een massa die op een veer rust. De ene toestand is de snelheid van de massa, de andere de uitrekking van de veer ten opzichte van de evenwichtstoestand. De negatieve terugkoppelingen zijn de veer voor de positie en de demper voor de snelheid.
Een ander voorbeeld is een RLC-kring.
Differentiaalvergelijking
De differentiaalvergelijking van een lineair tijdinvariant tweede-ordesysteem met invoer (excitatie) en uitvoer (respons) is van de vorm
Dit is een lineaire differentiaalvergelijking met constante coëfficiënten.
Overgangsgedrag
Zonder demping is de homogene oplossing blijvende oscillatie. In andere gevallen beschrijft de homogene oplossing het overgangsgedrag van het systeem. Overgangsgedrag treedt op indien het systeem niet in rust is, wat tot gevolg heeft dat het spontaan de rusttoestand zal opzoeken, ook in de afwezigheid van externe excitaties. Daarnaast heeft ook het opstarten van een externe situatie overgangsgedrag tot gevolg. De duur van het overgangsgedrag is bepaald door de tijdconstante(n) van het systeem. Elke exponentiële functie in de homogene oplossing levert een tijdconstante .
De oplossing van de homogene differentiaalvergelijking wordt verkregen door de karakteristieke vergelijking
op te lossen. Voor het bepalen van de oplossingen worden de volgende gevallen onderscheiden (reële oplossingen corresponderen met reële en ):
- twee reële wortels en .
- De algemene homogene oplossing is dan
- Fysisch stemt dit overeen met een overgedempt systeem.
- twee gelijke reële wortels .
- De algemene homogene oplossing is dan
- Fysisch stemt dit overeen met een kritisch gedempt systeem.
- twee complex toegevoegde wortels .
- De algemene homogene oplossing is dan
- Fysisch stemt dit overeen met een ondergedempt systeem, een gedempte trilling.
- In het geval van twee zuiver imaginaire complex toegevoegde wortels verdwijnen de exponentiële functies.
Regimeoplossing
De particuliere oplossing van de volledige differentiaalvergelijking levert het regimegedrag van het lineair systeem. Het is van dezelfde aard als de excitatie. Omdat een excitatie in de praktijk doorgaans een stapfunctie (Heaviside-functie) of een sinus is, kan de particuliere oplossing gevonden worden met de methode van de onbepaalde coëfficiënten. Bij een sinusvormige excitatie zal het regimegedrag een sinus zijn van dezelfde frequentie, maar met een aangepaste amplitude en fase zoals bepaald door de frequentierespons.
Mechanische voorbeelden
Gedempt massa-veersysteem geëxciteerd door een kracht

Het systeem bestaat uit een massa m, waarop rechtstreeks een kracht uitgeoefend. De massa is door middel van een veer en een viskeuze demper verbonden aan een vaste wand. De differentiaalvergelijking is dan:
Gedempt massa-veersysteem geëxciteerd door een verplaatsing

Het systeem bestaat uit een massa, verbonden aan een veer en een viskeuze demper. De excitatie geschiedt door de beweging aan de andere zijde van de veer en de demper. De differentiaalvergelijking is dan:
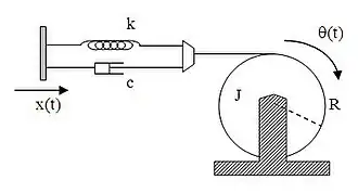
Beweging van een schijf

Een schijf met inertiemoment J wordt door middel van een veer en een viskeuze demper geëxciteerd door een verplaatsing aan de andere zijde van de veer en de demper. Als respons van het systeem wordt de rotatiehoek gekozen:
Elektrische voorbeelden
Opladen van een condensator over een weerstand en een spoel

In een kring met een spanningsbron worden een weerstand , een spoel en een condensator in serie geplaatst. De differentiaalvergelijking die de lading op de condensator beschrijft is:
Wiskundig is dit systeem volledig gelijkwaardig met het gedempt massa-veersysteem met een kracht als excitatie.
Passieve 2de-orde filters
Dergelijke analoge filters worden efficiënter beschreven door hun systeemfunctie . De standaard tweede-orde systeemfuncties worden gekenmerkt door de referentiefrequentie en de Q-factor, een dimensieloze grootheid. De Q-factor geeft de versterking of verzwakking van een sinusexcitatie ter hoogte van de referentiefrequentie. Bij een banddoorlaatfilter is de referentiefrequentie de frequentie waar de doorlating maximaal is. Bij een bandstopfilter wordt de referentiefrequentie volledig onderdrukt. In beide gevallen is de Q-factor een maat voor de bandbreedte: hoe groter , hoe smaller de bandbreedte. Naast deze twee parameters kan nog een algemene versterkingsfactor worden voorzien.
De standaard systeemfuncties worden dan:
- Laagdoorlaatfilter:
- Dit systeem versterkt de amplitude van lage frequenties met een factor A en onderdrukt hoge frequenties. De versterking bij de referentiefrequentie bedraagt . Lage frequenties worden slechts weinig in fase vertraagd. Hoge frequenties met bijna −180°. Op de referentiefrequentie bedraagt de faseverschuiving −90°
- Hoogdoorlaatfilter:
- Dit systeem versterkt de amplitude van hoge frequenties met een factor A en onderdrukt lage frequenties. De versterking bij de referentiefrequentie bedraagt . Lage frequenties bekomen een faseverschuiving van bijna +180°. Voor hoge frequenties gaat de faseverschuiving naar nul. Op de referentiefrequentie bedraagt de faseverschuiving +90°
- Banddoorlaatfilter:
- Dit systeem onderdrukt lage en hoge frequenties. De doorlating op de referentiefrequentie bedraagt . Het faseverloop daalt van +90° op lage frequentie, over 0° op de referentiefrequentie naar −90° op hoge frequentie.
- Bandstopfilter:
- Dit filter onderdrukt de referentiefrequentie en versterkt zowel lage als hoge frequenties met een factor . De fase daalt van 0° op lage frequentie om −90° te bereiken op de referentiefrequentie. Daar springt de fase naar +90° en neemt vervolgens weer af naar 0° op hoge frequentie.
Concrete realisaties voor deze vier types zijn mogelijk door gebruik te maken van één weerstand, één spoel en één condensator. De systeemfuncties zijn dan:

- Laagdoorlaatfilter:
- Hoogdoorlaatfilter:
- Banddoorlaatfilter:
- Bandstopfilter:
Telkens kunnen de referentiefrequentie en de Q-factor uit de algemene tweede-orde systeemfunctie geschreven worden in termen van de concrete componenten en door identificatie van de respectievelijke noemers van de systeemfuncties. Op deze manier kunnen concrete componentwaarden geselecteerd worden voor de gewenste referentiefrequentie en Q-factor. In elk van deze vier concrete gevallen is de algemene versterkingsfactor gelijk aan 1.