Strijkplank

Een strijkplank, in een bredere variant ook wel strijktafel genoemd, is een hulpmiddel om textiel te strijken of te persen. Een strijkplank wordt gebruikt in combinatie met een hete strijkbout.
Constructie

Een strijkplank bestaat uit een vlak oppervlak, gemaakt van multiplex, spaanplaat of geëxpandeerd metaal dat wordt bekleed met een strijkhoes. De plank zelf is gemonteerd op een onderstel van aluminium, roestvast staal[1] of kunststof. In het verleden waren strijkplanken geheel van hout gemaakt. Moderne strijkplanken hebben een open oppervlak zodat de stoom die ontstaat bij gebruik van een stoomstrijkijzer aan de onderzijde kan ontsnappen.
Aan een uiteinde zijn moderne strijkplanken voorzien van een treefje,[2] een plank of houder om de strijkbout op te plaatsen als deze aan het opwarmen is, of als deze tijdens het strijken opzij gezet moet worden. Grotere houders zijn geschikt voor strijksystemen of stoomgeneratoren. Rechtshandige mensen zullen de houder aan de rechterkant houden, linkshandigen aan de linkerkant, omdat zij het strijkijzer over het algemeen met de linkerhand zullen bedienen. De houder zal voor een stoomgenerator groter moeten zijn dan voor een conventioneel strijkijzer.
Het andere uiteinde van de strijkplank heeft een afgeronde vorm die geschikt is voor het strijken van de schouders van kledingstukken, die er dan omheen gedrapeerd worden.
Aan het metalen frame zit een hendel die dient om de werkhoogte in te stellen. Bij sommige typen dient dezelfde hendel voor het inklappen en vergrendelen van de strijkplank, zodat de strijkplank minder ruimte inneemt.[3]
De poten zijn meestal van rubberen doppen voorzien om ervoor te zorgen dat de plank tijdens het strijken of bij het opbergen niet verschuift.[1] De doppen zijn tevens bedoeld om de vloer niet te beschadigen.[4]
Soorten en maten
Commercieel verkrijgbare strijkplanken bestaan in de eenentwintigste eeuw in verschillende maten, waarbij zowel de lengte als de breedte variëren.[3] De lengte varieert tussen 73 en 135 cm, de breedte van 30 tot 45 cm. De maten worden door fabrikanten op verschillende manieren aangeduid. Sommige gebruiken s (small) tot en met xl (extra large), anderen A t/m D.[1] Dezelfde aanduidingen worden gebruikt voor de strijkhoezen.
Een bredere strijkplank neemt meer ruimte in, maar is efficiënter, omdat het te strijken textiel tijdens het strijken minder vaak verplaatst behoeft te worden.[5] Dit is vooral van belang bij groot textiel, zoals beddengoed, tafellakens of gordijnen.
Voor rolstoelgebruikers bestaan strijkplanken die aan de muur worden bevestigd, zodat er geen onderstel nodig is en er ruimte is voor de rolstoel.[6] Ook in hotels bevinden zich soms inklapbare strijkplanken die aan een muur zijn bevestigd.[7]
Verstelbaarheid
.jpg)
Strijkplanken zijn over het algemeen in hoogte verstelbaar. De uitersten in hoogte zijn 47 cm en 102 cm.[3][8][9] Voor staand strijken wordt de hoogte ingesteld tussen 90 en 102 cm.[10] De meeste mensen strijken staande. In dat geval is de verstelbaarheid nodig om rugklachten te voorkomen. Geadviseerd wordt de strijkplank zodanig in hoogte in te stellen dat het strijkoppervlak ongeveer 25 cm lager is dan de elleboog.[11][12] De kleinste hoogte maakt het mogelijk om zittend te strijken.[3] Soms wordt het onderstel speciaal geschikt gemaakt om zittend te strijken, zodat er ruimte is voor de knieën.[3]
Varianten

Er bestaan ook zeer lage strijkplanken, die geschikt zijn om op een tafel te zetten.[13] Er bestaan hitte-reflecterende strijkdekens waarmee op elke ondergrond gestreken kan worden.[14] Een kleermakerskussen is een hulpmiddel om kleine onderdelen van een kledingstuk te strijken of te persen.

Omdat strijkplanken te breed zijn voor het strijken van mouwen, althans indien men geen zichtbare vouw wenst te zien, of als de naden moeten worden opengeperst,[15] wordt een aparte kleine strijkplank gebruikt dat mouwplankje wordt genoemd. De mouw wordt voor het strijken over zo een mouwplank heen getrokken.
Voor het strijken van broekspijpen werd voorheen een speciale lange, smalle broekenplank gebruikt.[15] Kleermakers gebruiken voor kragen een speciale kragenplank.[15] Mensen die zelf kleding maken, kunnen als alternatief een kleermakerskussen gebruiken om kragen te strijken. Hierop kan een kraag worden vastgenaaid, zodat deze op z`n plek blijft zitten tijdens het strijken.
In 2019 bestaan actieve strijkplanken die een verwarmingselement bevatten en een met de voet bediende afzuiging. Daarmee kan lucht door de plank heen worden getrokken om het kledingstuk tegelijk te drogen en te strijken. Met dat aanzuigen wordt het textiel tevens vastgezogen, zodat het niet meer verschuift. Bovendien wordt de stoom actief naar beneden gezogen. Zo'n strijkplank heeft ook een blaasfunctie, waarmee er lucht naar boven wordt geblazen, zodat het kledingstuk als het ware boven het strijkoppervlak zweeft. Daarmee wordt bereikt dat naden en biezen niet doordrukken.[16][17]
Accessoires
Overtrek
Bij een strijkplank gebruikt men een overtrek (ook wel hoes of tijk genoemd), gemaakt van katoen met een verende onderlaag. Een extra onderlaag die onder de hoes wordt gelegd, vaak van molton, maakt het strijken makkelijker omdat die laag de warmte goed vasthoudt. Strijken zonder onderlaag van een hoes leidt niet tot een goed resultaat. In geval van een houten strijkplank is een hoes met brandvertrager nodig om ervoor te zorgen dat de plank niet verbrandt door de hete strijkbout. De hoes krijgt vaak een aantrekkelijk uiterlijk met een gedrukte decoratie.[3] Fabrikanten van strijkplanken schakelen soms ontwerpers in[18] voor de hoes om de strijkplank aantrekkelijker te maken. Een hoes is echter een eenvoudig te vervangen onderdeel van de strijkplank.
| Afmetingen van strijkovertrekken | |
|---|---|
| Aanduiding | Afmetingen in centimeter |
| A | 110 × 30 |
| B | 124 × 38 |
| C | 124 × 45 |
| D | 135 × 45 |
| E | 135 × 49 |
De hoes wordt met een koordsluiting of elastiek strak om de strijkplank vastgemaakt, waarbij ervoor gezorgd moet worden dat de hoes geen plooien vertoont, want die drukken door in het strijkgoed. Soms heeft de overtrek een warmte-reflecterende laag, te herkennen aan de metaalachtige kleur.
Als een hete strijkbout gedurende langere tijd op de hoes staat, kan deze verbranden, ook al is de hoes voor de hitte van het strijkijzer bedoeld. Daarom werden in het verleden strijkhoezen wel gemaakt met asbest. Dit is sinds 1993 verboden in Nederland[19] en sinds 2001 ook in België.[20]
Snoerhouder
.jpg)
Sommige strijkplanken hebben een snoerhouder, waarmee het snoer van de strijkbout omhooggehouden kan worden, zodat het snoer niet in de weg ligt of kreukels in het strijkgoed kan maken.
Linnenrek
Sommige strijkplanken hebben halverwege het onderstel of aan het uiteinde een linnenrek om het gestreken en gevouwen wasgoed op te leggen.[21]
Geschiedenis

In Scandinavië, maar ook op de Orkney-eilanden, zijn platen van walvisbot gevonden uit de Vikingtijd. In één geval samen met een grote glazen cilinder, die gebruikt werd om wasgoed glad te maken. De platen werden vermoedelijk gebruikt als strijkplank, maar daar zijn geen bewijzen voor. Naar verluidt zijn ze tot de 19e eeuw gebruikt. Tijdens opgravingen zijn ongeveer 40 van dit type platen gevonden, vaak bij een vrouwengraf, zoals in het bootgraf van Scar.

In Nederland werden voor de ontwikkeling van strijkbout en strijkplank mangelplanken gebruikt voor kleine stukken textiel. Het natte linnengoed werd om een ronde stok gewikkeld. De mangelplank werd over de stok heen en weer gehaald om het linnen glad te maken.[22] De bovenkant van de mangelplank was versierd met geometrische patronen of spreuken.
Tot in de 19e eeuw werden kleine strijkplanken gebruikt die op schoot gelegd werden. Deze werden vooral gebruikt om zomen te persen tijdens het naaien.[23]

Voordat de opvouwbare strijkplank werd ontwikkeld, gebruikten de toenmalige huisvrouwen een eenvoudige plank die op twee stoelleuningen werd gelegd, of legden ze een plank met een kant op een keukentafel en de andere kant op de rugleuning van een stoel die ongeveer even hoog moest zijn.[24] Ook gebruikten ze wel schragen om de strijkplank op te leggen. In de negentiende eeuw verschenen vele handleidingen voor huisvrouwen met advies over de ideale afmetingen van een strijkplank, de beste materialen en welk materiaal gebruikt kon worden als bedekking tegen de hitte van de strijkbout. Zo adviseerde Catherine Beecher in 1841 dat de vorm van de strijkplank voor het strijken van rokken aan een kant smaller diende te zijn.[4]
Strijkplanken waren in deze tijd gemaakt van hout. Aan de houtsoort werden verschillende eisen gesteld. Het hout mocht niet splinteren; daarom was bijvoorbeeld vurenhout niet geschikt. Ook hout dat slecht vocht kon opnemen was ongeschikt, met name voor het persen. De beste houtsoorten waren esdoorn-, beuken-, elzen-, linden- of perenhout.[15]
De strijkplanken werden bekleed met een wollen deken, waarover een niet al te grove linnen lap werd gespannen.[24]
Strijktafels moesten zo breed zijn dat er twee strijksters tegelijk aan konden werken.[24]
De eerste patenten voor strijkplanken werden verleend in de Verenigde Staten. James N Brewster verkreeg waarschijnlijk in 1867 het eerste octrooi op een strijkplank. Zijn uitvinding hield in dat de plank opklapbaar was, zodat deze na gebruik rechtop in een kast verdween.[25]
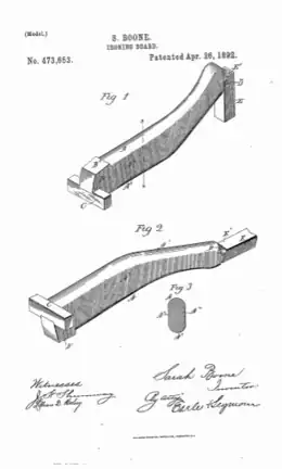
Vanaf dat moment werden verschillende modellen ontwikkeld. Er werden ook patenten verleend voor strijkplanken voor het strijken van mouwen of hoeden. Op 15 februari 1858 kregen W. Vandenburg en J. Harvey patent op een strijktafel waarmee mouwen en broekspijpen konden worden geperst. In 1875 patenteerde John B. Porter in Canada een opvouwbare strijkplank. Deze uitvinding omvatte ook een verwijderbare perstafel om mouwen te persen. In 1887 werd in het Nederlandse tijdschrift De huisvrouw: weekblad tot voorlichting, nut en ontwikkeling van het huisgezin over een opvouwbare strijkplank geschreven, die bovendien op rollen stond om hem makkelijk te verplaatsen.[26] In datzelfde jaar, op 30 december 1887, vroeg Sarah Boone in de VS een patent op verbeteringen van de strijkplank, ook gericht op het beter strijken van mouwen. Daarmee werd ze de eerste Afro-Amerikaanse vrouw met een patent op haar naam. Het octrooi werd op 26 april 1892 verleend. Haar plank was tevens scharnierend, zodat hij kon worden omgeklapt.[27]
Met de opkomst van de stoomstrijkijzers werden de strijkplanken stoomdoorlatend. De houten plank werd vervangen door een metalen raster.

In 2012 presenteerde Anna Chagnaud haar ontwerp van een draaibare en verstelbare strijkplank met de naam Twisbee.[28] Zij kreeg daarvoor een zilveren medaille van de Franse Concours Lépine en in 2013 een gouden medaille op de Internationale Salon in Genève.[29]
In 2017 presenteerde het Amerikaanse bedrijf Sharkk een strijkplank die om zijn lengteas kon draaien. Het bedrijf claimde dat daarmee sneller gestreken kon worden.[30] Het bedrijf startte een crowdfunding-campagne om de plank in productie te nemen.[31] Dit had in 2019 nog niet tot resultaat geleid.
Strijkplank in de cultuur
Strijkplank als stereotiep voorwerp
De strijkplank wordt volgens de conventionele taakverdeling in een huwelijk tussen een man en een vrouw vrijwel alleen door de echtgenote gebruikt, zo blijkt uit onderzoek in Vlaanderen in 2016.[32] Deze taakverdeling verandert echter langzaam en mannen gaan de strijkplank vaker gebruiken, met name voor hun eigen overhemden.[33] De strijkplank is niettemin nog steeds een stereotype voorwerp, geassocieerd met huishoudelijk werk door vrouwen. Hedy d'Ancona signaleerde in 2014 dat in verhalen van Jip en Janneke uit de jaren 50 van de twintigste eeuw de strijkplank een van de rolbevestigende voorwerpen was. Zo kreeg Janneke als cadeau naast een reiswieg met een pop ook een strijkplank met strijkbout voor de poppenkleertjes.[34] Econoom Bas ter Weel beschrijft in 2013 hoe in een reclamefolder van een grote speelgoedwinkel de strijkplank als meisjesspeelgoed is opgenomen. Volgens Van Weel denkt de fabrikant van dat speelgoed dat hij daarmee Nederlandse meisjes kan verleiden.[35]
In toneelstukken en films figureren strijkplanken als voorwerp dat door een vrouw wordt gebruikt. Zo worden in een enscenering van het toneelstuk van Shakespeare, Het temmen van de feeks door Nina Spijkers traditionele vrouwenvoorwerpen zoals de strijkplank en de droogkap afgezet tegen traditionele mannenvoorwerpen zoals gereedschap.[36]

Ook in ensceneringen van het toneelstuk Madame Sans-Gêne uit 1893, van de hand van Victorien Sardou en Émile Moreau, figureert een strijkplank. Het stuk gaat over een wasvrouw, Cathérine Hübscher, die het tot gravin brengt. In Nederland werd het stuk rond 1916 uitgevoerd met actrice Théo Mann-Bouwmeester als de wasvrouw, die ook aan het strijken is. Van het stuk verscheen in 1915 een opera versie van Umberto Giordano, en verschillende films, waaronder in 1925 een versie met Gloria Swanson en in 1961 een versie met Sophia Loren in de rol van de wasvrouw.
Strijkplank in de beeldende kunst
Verschillende kunstenaars hebben zich laten inspireren door de strijkplank.
Marcel Duchamp (1887-1968) werkte dagelijkse voorwerpen als readymade om tot kunst. Omgekeerd kwam bij hem het idee op om een kunstwerk van Rembrandt als strijkplank te gebruiken: een ready-made réciproque.[37][38] Dit is echter bij een dadaïstisch gedachte-experiment gebleven.
Joseph Beuys (1921-1986) gebruikte in zijn installatie Hirschdenkmäler een oude strijkplank van zijn moeder.[39]

Eduard Veterman schilderde een magere man aan het strijken, mogelijk een herinnering aan zijn verblijf in het Oranjehotel.
De Catalaanse kunstenaar Karol Bergeret (1975) maakte ter gelegenheid van Internationale vrouwendag 2015 in het kunstwerk Santas Amas de Casa, especie en extinción (heilige huisvrouwen, bedreigde diersoort) gebruik van strijkplanken,[40] waarbij zij de planken versierde met een vrouwengezicht in de vorm van een heilige en allerlei andere voorwerpen uit het huishouden, die haar 'teleporteren naar dertig, veertig jaar geleden, naar een overwonnen tijd'. Haar werk is daarmee een eerbetoon aan vrouwen die zoveel van hun tijd – gratis, anoniem en zonder vakantie – aan het gezin en huishouden besteedden. Het is een ironische visie op de ontwikkeling van de samenleving van enkele decennia geleden en de ontwikkelingen sinds die tijd.[41][42]

Een werk van de Nederlandse kunstenaar Jorien Rooymans-de Kruyff van Dorssen werd in 1983 geplaatst aan de Maliebaan in Utrecht. Het beeld stelt een strijkplank voor, waarover textiel is gedrapeerd. Door de compositie is het beeld niet direct herkenbaar, een methode die Rooymans vaker toepast.[43]
Strijkplank in de sport

In 1997 werd de sportvorm extreem strijken bedacht door de Engelsman Phil "Steam" Shaw. Deelnemers nemen een strijkplank, een strijkijzer en kleding mee naar een moeilijk te bereiken locatie en zorgen daarbij ook voor een mogelijkheid om daar te strijken met elektriciteit. In 2016 streek vrijduiker Roland Piccoli een T-shirt op een diepte van 42 m in het diepe zwembad van het Italiaanse dorp Montegrotto Terme.[44]
In 2011 haalde duikclub De Waterman uit Oss een record dat werd opgenomen in de Guinness World Records. Zij beoefenden het extreme ironing onder water met 173 mensen tegelijk.[45]
Strijkplank in de Nederlandse taal
Figuurlijk kan in de Nederlandse taal strijkplank de volgende betekenissen hebben:
Enkele leveranciers van strijkplanken
In de westerse wereld hebben veel huishoudens een strijkplank. Er zijn vele leveranciers, zoals Bosch, Brabantia, Braun, Calor, DeLonghi, Kärcher, Laurastar, Leifheit, Metlatex, Necchi, O'Daddy, Philips, Rowenta, Siemens, Tefal, Tomado, Vileda en Wpro. Sommige van genoemde leveranciers hebben strijkplanken echter in 2019 niet permanent in hun collectie. Een bedrijf als Altrex leverde in de jaren 1950, toen het nog Bijstede heette, naast trappen en droogmolens ook strijkplanken.[48] Daarnaast leveren grote winkelketens of internetwinkels zoals Otto en Wehkamp vaak een strijkplank onder hun eigen merknaam.
Brabantia maakte in 1981 de zes miljoenste strijkplank in de vestiging in Valkenswaard.[49]
Wetenswaardigheden
.jpg)
In China werd gestreken zonder strijkplank. De te strijken stof werd met de hand strak gehouden en een hete strijkpan werd er overheen bewogen.
Bronnen
- Dit artikel of een eerdere versie ervan is een (gedeeltelijke) vertaling van het artikel Bügelbrett op de Duitstalige Wikipedia, dat onder de licentie Creative Commons Naamsvermelding/Gelijk delen valt. Zie de bewerkingsgeschiedenis aldaar.
- Dit artikel of een eerdere versie ervan is een (gedeeltelijke) vertaling van het artikel Fusta_de_planxar op de Catalaanstalige Wikipedia, dat onder de licentie Creative Commons Naamsvermelding/Gelijk delen valt. Zie de bewerkingsgeschiedenis aldaar.
- Dit artikel of een eerdere versie ervan is een (gedeeltelijke) vertaling van het artikel Ironing op de Engelstalige Wikipedia, dat onder de licentie Creative Commons Naamsvermelding/Gelijk delen valt. Zie de bewerkingsgeschiedenis aldaar.
- Dit artikel of een eerdere versie ervan is een (gedeeltelijke) vertaling van het artikel Table_à_repasser op de Franstalige Wikipedia, dat onder de licentie Creative Commons Naamsvermelding/Gelijk delen valt. Zie de bewerkingsgeschiedenis aldaar.
Voetnoten
- ↑ a b c Beste strijkplank 2019. Klesto.nl. Geraadpleegd op 11 augustus 2019.
- ↑ C. A. M. Hutten-Groot (1998). Vaardigheden huishoudelijke zorg / druk 1 / ING. Bohn Stafleu van Loghum. ISBN 9789031325955.
- ↑ a b c d e f Strijkplank - Strijken - Wassen & strijken | Brabantia. www.brabantia.com. Geraadpleegd op 5 augustus 2019.
- ↑ a b (en) Ironing Board | Encyclopedia.com. www.encyclopedia.com. Geraadpleegd op 17 augustus 2019.
- ↑ Strijkplanken - Coolblue. www.coolblue.nl. Geraadpleegd op 5 augustus 2019.
- ↑ In hoogte verstelbare wandstrijkplank voor zittend en staand gebruik. Ropox. Gearchiveerd op 5 september 2019. Geraadpleegd op 5 september 2019.
- ↑ Strijkstations voor uw hotel? | Hotel-Supply.com. www.hotel-supply.com. Gearchiveerd op 17 augustus 2019. Geraadpleegd op 17 augustus 2019.
- ↑ Strijktafels en strijkplankovertrekken :: Tomado. Gearchiveerd op 27 september 2020. Geraadpleegd op 30 januari 2020.
- ↑ www.leifheit.de. www.leifheit.de. Geraadpleegd op 30 januari 2020.
- ↑ Hoe kies je de juiste strijkplank?. www.brabantia.com. Geraadpleegd op 5 september 2019.
- ↑ Huishoudelijke verzorging | Wasbehandeling | Strijken. www.arbocatalogusvvt.nl. Geraadpleegd op 5 september 2019.
- ↑ Strijken. Werkhouding VVT. Geraadpleegd op 30 januari 2020.
- ↑ JÄLL Strijkplank, tafel - IKEA. IKEA NL/NL. Geraadpleegd op 5 augustus 2019.
- ↑ bol.com. www.bol.com. Gearchiveerd op 3 augustus 2019. Geraadpleegd op 5 augustus 2019.
- ↑ a b c d P. H. Vos, P. H. Vos H. van Lieshout (1967). Woordenboek van de Brabantse dialecten II-4. Uitgeverij Van Gorcum. ISBN 9789023223269.
- ↑ (de) www.leifheit.de. www.leifheit.de. Geraadpleegd op 17 augustus 2019.
- ↑ SIEMENS - TN10100N - Strijkplank. www.siemens-home.bsh-group.com. Geraadpleegd op 17 augustus 2019.
- ↑ Fleur je strijkplank op. www.brabantia.com. Geraadpleegd op 13 augustus 2019.
- ↑ Ministerie van Infrastructuur en Waterstaat, De belangrijkste asbestregels - Asbest - Rijksoverheid.nl. www.rijksoverheid.nl (26 mei 2017). Geraadpleegd op 26 oktober 2019.
- ↑ Kenmerken, geschiedenis en gebruik. FOD Volksgezondheid (12 januari 2016). Geraadpleegd op 13 augustus 2019.
- ↑ Zo gebruik je het linnenrek - Brabantia Strijkplank.
- ↑ Mangelplank. Zuiderzeemuseum.
- ↑ History of Ironing Boards, Ironing Tables, Smoothing Boards. www.oldandinteresting.com. Geraadpleegd op 26 oktober 2019.
- ↑ a b c Elsje Visser (1868). De bekwame huishoudster: handleiding voor huisvrouwen en jonge dochters uit den aanzienlijken en den burgerstand om een huishouden overeenkomstig de eischen des tijds, net, doelmatig en goedkoop in te richten, met eene opgave en omschrijving van de geschiktste meubelen, keukengereedschappen en verdere vrouwelijke benoodigdheden in salon, kamer, keuken, kelder enz., alsmede, eene aanwijzing hoe alle huisraad ordelijk wordt bewaard, onderhouden en ingepakt. D. Noothoven van Goor.
- ↑ (en) James N. Brewster Patent.
- ↑ De huisvrouw: weekblad tot voorlichting, nut en ontwikkeling van het huisgezin. Nijgh & Van Ditmar (1878).
- ↑ (en) Ironing-board.
- ↑ (fr) TWISBEE, la nouvelle table à repasser : pivotante et facile à ranger.
- ↑ (fr) Repassage amovible. www.bienpublic.com. Geraadpleegd op 17 augustus 2019.
- ↑ Sneller strijken dankzij roterende strijkplank. De Ingenieur. Geraadpleegd op 21 september 2019.
- ↑ (en) Flippr: The Ironing Board That Saves 80% of Your Time. Kickstarter. Geraadpleegd op 21 september 2019.
- ↑ Jens Desmet, Zondag, ook jouw strijkdag?. elektrozine.be (2 december 2016). Geraadpleegd op 4 mei 2020.
- ↑ Heleen Boex en Simone van Zwienen, Man strijkt steeds vaker z'n eigen overhemden. Algemeen Dagblad (08-09-2015). Geraadpleegd op 4 mei 2020.
- ↑ Hedy d'Ancona, Jan Campert-stichting Jaarboek 2014 · dbnl. DBNL. Geraadpleegd op 4 mei 2020.
- ↑ Girls will be girls. ESB.nu. Geraadpleegd op 4 mei 2020.
- ↑ Roeland Fernhout ontroert als feeks in kleurrijke Shakespeare. NRC. Geraadpleegd op 4 mei 2020.
- ↑ Beelden uit een tentoonstelling. Ooteoote (25 november 2016). Geraadpleegd op 13 augustus 2019.
- ↑ (fr) Marcel Duchamp, discours au musée d'art moderne de New York, 1961. Centre Pompidou. Gearchiveerd op 25 maart 2015. Geraadpleegd op 4 mei 2020.
- ↑ Hirschdenkmäler. www.muhka.be. Gearchiveerd op 13 augustus 2019. Geraadpleegd op 13 augustus 2019.
- ↑ (en) Karol Bergeret. CCCB. Geraadpleegd op 17 augustus 2019.
- ↑ (es) Las obras de Karol Bergeret en "el dinàmic de bcn". Passeig de Gràcia (2 september 2015). Geraadpleegd op 17 augustus 2019.
- ↑ (es) La artista Karol Bergeret homenajea a las 'santas amas de casa' con viejas tablas de planchar. www.publico.es. Geraadpleegd op 17 augustus 2019.
- ↑ Kunstwacht - Utrecht. utrecht.kunstwacht.nl. Geraadpleegd op 4 september 2019.
- ↑ (en) EXTREME IRONING freediving apnea -42 m -138 ft.
- ↑ (en) Most people extreme ironing underwater. Guinness World Records. Geraadpleegd op 21 september 2019.
- ↑ strijkplank - de betekenis volgens Scheldwoordenboek. www.ensie.nl. Geraadpleegd op 13 augustus 2019.
- ↑ Spoiler alert! De 14 heftigste achtervleugels - AutoWereld. www.autowereld.be. Gearchiveerd op 21 september 2019. Geraadpleegd op 21 september 2019.
- ↑ Made in NL over Altrex mt.nl
- ↑ Geschiedenis Valkenswaard