John Ambrose Fleming

John Ambrose Fleming (Lancaster, 29 november 1849 – Sidmouth, 18 april 1945) was een Engels elektrotechnicus en natuurkundige. Hij werd vooral bekend door de uitvinding van de eerste radiobuis (vacuümdiode) waarmee de elektronica een feit werd.
Biografie
John Ambrose was het oudste kind van de congregationele predikant James en Mary Anne Fleming, in een gezin met nog zes jongere zussen. Hoewel geboren in Lancaster, verhuisde zijn familie naar Noord-Londen waar hij het grootste deel van zijn jeugd doorbracht. Hij werd opgeleid aan de University College School in Londen en aan de University College London.
Hij werkte als docent bij verscheidene universiteiten, waaronder de universiteit van Cambridge, de universiteit van Nottingham en de University College London, waar hij de eerste professor elektrotechniek werd. Daarnaast was hij adviseur bij de bedrijven als Marconi Wireless Telegraph Company, Swan, Ferranti, Edison Telephone en later bij Edison Electric Light Company. In 1892 legde voor het Institution of Electrical Engineers (IET) in Londen een belangrijk werk uit over de theorie van transformatoren.
Naast zijn uitvinding van de radiobuis leverde Fleming ook bijdragen op de gebieden van fotometrie, draadloze telegrafie en de elektrische meettechniek. In 1910 ontving hij de Hughes Medal en in 1928 de Faraday Medal. In 1929 – twee jaar na zijn pensionering – werd hij tot ridder geslagen en sindsdien mag hij als sir benoemd worden. In 1933 werd hij onderscheiden met de IEEE Medal of Honor "Voor zijn uitblinkende rol die hij speelde bij de introductie van fysische en technische principes in de radiokunst".
Verder is hij de bedenker van twee ezelsbruggetjes in de elektrotechniek, de linker- en rechterhandregel. De linkerhandregel wordt toegepast om de richting van de lorentzkracht te bepalen van een stroomvoerende geleider in een magnetisch veld, terwijl de rechterhandregel wordt toepast om de richting van de geïnduceerde spanning te bepalen van een geleider die wordt bewogen in een magnetisch veld.
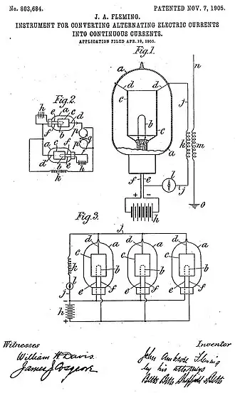
Uitvinding vacuümdiode

In 1883 sloot Thomas Edison een metalen draad luchtdicht op in een kooldraadlamp en nam vervolgens een blauwachtige gloed waar tussen deze draad en het nabijgelegen filament. Een verklaring voor dit verschijnsel (thermionische emissie) had hij echter niet, laat staan een praktische toepassing. In 1897 wist de Engelse natuurkundige Joseph John Thomson te achterhalen dat de ontstane gloed het resultaat was van minuscule deeltjes met een negatieve lading – hij had het elektron ontdekt.
Begin jaren 1900 begon Fleming zelf onderzoek te doen naar dit effect. Hij verving de draad van Edison door een metalen plaat en ontdekte dat de elektronen alleen naar de plaat toe bewogen indien deze een positieve lading bezat. Het resultaat was dat zijn uitvinding een wisselstroom kon omzetten in een gelijkstroom. Op 16 november 1904 vroeg hij in Engeland er octrooi op aan. Hij noemde zijn twee-elektrodenlamp een thermionische klep, omdat het stroom maar in één richting toeliet.
De volgende stap was de uitvinding van de Audion (triode) in 1906. De Amerikaan Lee De Forest voegde aan de buis van Fleming een rooster van fijn draad toe tussen het filament en de metalen (anode)plaat. Door dit stuurrooster een negatieve lading te geven kon hij de stroom elektronen tussen de twee elektrodes versterken of verzwakken. De versterkerbuis was geboren. Het gevolg was wel dat Fleming De Forest beschuldigde van plagiaat.
In de jaren daarna werden vacuümbuizen (diodes en triodes) op grote schaal toegepast in verscheidene elektronische toestellen, van radio's, versterkers, televisies, lange-afstandstelefonie tot de eerste digitale computers, totdat ze vanaf de jaren 1950 werden opgevolgd door de transistor.
The Royal Institution Christmas Lectures
Ambrose Fleming mocht drie keer een serie lezingen houden voor de Royal Institution Christmas Lectures, nog altijd jaarlijks in Londen gehouden door de Royal Institution of Great Britain. In 1894, 1901 en 1917 hield hij achtereenvolgend de spreekbeurten The Work of an Electric Current, Waves and Ripples in Water, Air and Aether en Our Useful Servants - Magnetism and Electricity.
Bibliografie
- Electric Lamps and Electric Lighting: A course of four lectures on electric illumination delivered at the Royal Institution of Great Britain (1894)
- The Alternate Current Transformer in Theory and Practice (1896)
- Magnets and Electric Currents (1898)
- A Handbook for the Electrical Laboratory and Testing Room (1901)
- Waves and Ripples in Water, Air, and Aether (1902)
- The Evidence of Things Not Seen (1904)
- The Principles of Electric Wave Telegraphy (1906)
- The Propagation of Electric Currents in Telephone and Telegraph Conductors (1908)
- An Elementary Manual of Radiotelegraphy and Radiotelephony (1911)
- On the power factor and conductivity of dielectrics when tested with alternating electric currents of telephonic frequency at various temperatures (1912)
- The Wonders of Wireless Telegraphy: Explained in simple terms for the non-technical reader (1913)
- The Wireless Telegraphist's Pocket Book of Notes, Formulae and Calculation (1915)
- The Thermionic Valve and its Development in Radio Telegraphy and Telephony (1919)
- Fifty Years of Electricity (1921)
- Electrons, Electric Waves and Wireless telephony (1923)
- Introduction to Wireless Telegraphy and Telephony (1924)
- Mercury-arc Rectifiers and Mercury-vapour Lamps (1925)
- The Electrical Educator (3 delen) (1927)
- Memories of a Scientific life (1934)
- Evolution or Creation? (1938) – Flemings bezwaren tegen Darwin.
- Mathematics for Engineers (1938)
- Dit artikel of een eerdere versie ervan is een (gedeeltelijke) vertaling van het artikel John Ambrose Fleming op de Duitstalige Wikipedia, dat onder de licentie Creative Commons Naamsvermelding/Gelijk delen valt. Zie de bewerkingsgeschiedenis aldaar.
- (en) Biografie John Ambrose Fleming. The Hebrew University of Jerusalem. Gearchiveerd op 12 juni 2008.