Iconoscoop

De iconoscoop (van iconografie = beeldbeschrijving) is een verouderd type opneembuis in televisiecamera's, waarin een bundel elektronen een foto-emissie mozaïekrooster raakt. Een onderzoeksgroep bij RCA met aan het hoofd Vladimir Zworykin introduceerde de iconoscoop in 1934,[1] nadat hij het laboratorium van Philo Farnsworth had bezocht en onderzoek had gedaan (naar hoe in 1930 's werelds eerste televisiecamera was ontworpen) in het kader van een mogelijke licentieovereenkomst voor zijn werkgever RCA. De iconoscoop werd een veelgebruikte camerabuis die gebruikt werd voor uitzendingen in de Verenigde Staten tussen 1936 en 1946.[2]
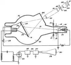
Ontwerp
De iconoscoop was een uitvinding van Kálmán Tihanyi volgens Amerikaanse, Franse en Engelse patenten. Beelden werden geprojecteerd op een lichtgevoelige plaat, die het beeld in duizenden stukjes opbrak die we nu als "pixels" kennen. Een aftastende elektronenbundel werd vervolgens over de plaat geleid die alle pixels elektrische lading gaf. Elke pixel bevatte een lading die in verhouding stond met de geprojecteerde lichtenergie, en deze lading werd dan doorgegeven aan de uitgang van de camera. Zo kon een beeld geconverteerd worden naar een elektrisch signaal.
Het belangrijkste aspect van de iconoscoop was dat de lichtgevoelige pixels de lading konden verzamelen tussen scans in.
Andere vroege elektronenbuizen
Zworykin had eerder al een patent aangevraagd op een elektronische camera voor Westinghouse in 1923 die een tweezijdige plaat bevatte. Het beeld viel op de fotogevoelige voorkant van de plaat, terwijl de kathodestraal de achterkant van die plaat aftastte. Maar na jaren van verbeteringen was de beeldkwaliteit nog steeds middelmatig, en waren er talrijke technische problemen, zodat deze uitvinding nooit verder is gekomen dan het laboratorium. Het patent werd niet verleend.
De allereerste elektronische buis camera die werd gedemonstreerd en gepatenteerd was de "Image Dissector" van Philo Farnsworth uit 1927 (patent verleend in 1930). RCA vond dat Farnsworths patent zo breed was geschreven dat dit elk ander systeem uitsloot van patent, waaronder de iconoscoop, en spande een rechtszaak aan om dat patent ongedaan te maken. Belangrijkste argument was dat Zworykins ontwerp uit 1923 voorafging aan Farnsworths "Image Dissector". Toch werd in 1935 bevonden dat Farnsworth eerder was geweest.
Een nadeel van Farnsworths "Image Dissector" was dat, omdat zijn buis geen opslagcapaciteit had, deze in de televisiestudio enorm veel meer licht nodig had om te werken dan de iconoscoop. Ook was de iconoscoop uit 1931 eenvoudiger te bouwen en produceerde een helderder, scherper beeld. Hoewel de iconoscoop in de late jaren 40 werd vervangen door de Orthicon-beeldcamera bleven veel van de basisconcepten behouden, zoals het gebruik van een lichtgevoelige plaat en een aftastende elektronenstraal.
Er zijn enige overeenkomsten tussen de iconoscoop en EMI's "Emitron camera" die vooral door J. D. McGee werd ontwikkeld, en theoretisch is het mogelijk dat het team van EMI onder leiding van Isaac Shoenberg toegang heeft gehad tot enige RCA-onderzoeken onder een patentdeelovereenkomst. Maar toen Zworykin een document publiceerde over de iconoscoop in 1933 concludeerde Shoenberg dat EMI al verder voorop liep met technologie en weinig kon leren van Zworykins project. Daarbij werd een aanbod voor technische assistentie door RCA aan EMI afgewezen door Shoenberg.
Zie ook
- ↑ Methode en apparaat om beelden van voorwerpen te vervaardigen, U.S. patent #2,021,907, 13 november 1931, patent verleend in 1935. Gearchiveerd op 22 april 2023.
- ↑ Dit artikel is vrij vertaald van het Engelse Wikipedia over dit onderwerp
Externe links
- (en) Geschiedenis van de iconoscoop IEEE Global History Network
- (en) Iconoscoop afbeeldingen