Autofocus

Autofocus (of AF) is het automatisch scherpstellen op een onderwerp door de fotocamera. Het eerste autofocussysteem dateert uit de jaren zestig en werd door Polaroid op de markt gebracht. Bij dit systeem werd door middel van geluidsgolven de afstand tot het onderwerp bepaald. Later werd een vergelijkbaar systeem ontwikkeld op basis van een infrarode lichtstraal.
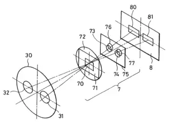
Fasedetectie
In spiegelreflexcamera's (zowel met film als digitaal) wordt een contrast-fase detectiesysteem gebruikt. Hierbij wordt een deel van het licht van de lens door een hulpspiegel afgebogen naar een tweetal (meestal) lijnvormige CCD-sensors die via een straaldeler zo zijn gemonteerd dat ze zich op precies dezelfde afstand als het beeldvlak bevinden. Één sensor zit vlak voor en de andere vlak achter het beeldvlak. Op de sensor waar het scherptevlak het dichtst bij staat zal het verschil tussen lichte en donkere delen (contrast) het hoogste zijn, als het scherptevlak precies op het beeldvlak ligt is het contrast op beide sensoren gelijk en is de lens scherpgesteld. Het voordeel van deze constructie is dat het scherpstelsysteem meteen weet in welke richting scherpgesteld moet worden en ook wanneer de maximale scherpte bereikt is.
Contrastdetectie
Het autofocus-systeem van de meeste digitale camera's werkt met een systeem om het verschil in contrast te meten in een of meerdere vlakjes van het beeldveld. Als contrast maximaal is, dan is het beeld scherp. De werking is vergelijkbaar met die van ons eigen oog. Bij contrastdetectie is het echter niet meteen duidelijk in welke richting scherpgesteld moet worden, de scherpstelling wordt eerst in één richting aangepast en als het contrast niet toe- maar afneemt wordt in de andere richting bewogen. Ook wordt bij het scherpstellen niet meteen duidelijk wanneer de maximale scherpte bereikt is, hierdoor schiet het systeem een stukje door en moet daarna weer een eindje terug. Door dit "pendelen" is deze methode wat langzamer dan fasedetectie.
Voor zowel fase- als contrastdetectie kan het gebeuren dat het systeem bij contrastarme onderwerpen soms helemaal niet kan scherpstellen en blijft pendelen.